Bu iPhone'lar kendini tamir edecek!
5 yıldır proje üzerinde çalışan Apple, yeni iPhone cihazlarının bükülmesini ve esnemesini sağlayan bir menteşeyi üretmek için düğmeye bastığını açıkladı.
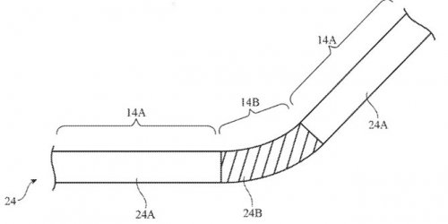
Bu modellerin bükülme esnasında zarar görmemesi için tabanı yumuşak olan ekran kaplamaları kullanılacak. Üç farklı ekran kaplaması üretilecek. Bunlardan iki tanesi sabit bir yapıya sahip olacak. Üçüncü ekran katmanı ise bünyesinde bu iki sabit katmanı birbirine bağlayan elastik bir yapıyı barındıracak.
Ekranı çizilen, ekranı hafif bir şekilde kırılan veya ekranı çatlayan iPhone’lar, bu tasarım sayesinde bu tip sorunların üstesinden tek başına gelebilecek. Böylece iPhone’lar kendisini yapısında bulunan ekran tabakaları aracılığı ile tamir edebilecek. Katlanabilen iPhone modelleri oldukça ilgi çekecek gibi duruyor.
Bu ekran tabakalarına bir ısı sistemi veya bir elektrik akımı eşlik edecek. Apple cephesinden bu konu hakkında henüz net bir açıklama gelmedi. Belki de her iki sistemin farklı iPhone modellerinde kullanıldığını görebiliriz.

Koruyucu katmanların tek bir ekrana da monte edilebileceğini söyleyen ABD merkezli teknoloji devi, bu katmanların şeffaf bir camdan veya plastikten üretilebileceğini belirtti. Bu katmanlar safir veya ince bir transistör kullanılarak da üretilebilir.
Katmanların 180 derece bükülebilen bir yapıya sahip olacağı da elde edilen bilgiler arasında yer alıyor. Kullanıcılar bu katmanların hepsini direkt bir şekilde kullanamayacak. Zira en az 1 katman koruyuculuk ve onarım görevini üstelenecek. Diğer iki katmana dokunulabilecek. Bu durum tam tersi de olabilir: 2 adet onarıcı ve koruyucu katman, 1 adet dokunulabilen katman.


Türkçe karakter kullanılmayan ve büyük harflerle yazılmış yorumlar onaylanmamaktadır.